This VESA adapter is compatible with the following AOC brand monitors compatible: 22B1H 22B1HS 24B1H 24B1XH 27B1H
⚠ WARNING
To minimize the risk of injury, it is important to read all instructions carefully before installation. We accept no liability for personal injury or damage to property caused by improper use of this product.
It is also essential to observe the technical specifications of the product.
1. Read all instructions carefully.
2. Incorrect installation can lead to damage or serious injury. Make sure that the product and the monitor are securely mounted before using it. 3.
3. Make sure that the bracket to which the product is attached can easily support the total weight of the monitor, computer and adapter.
⚠ WARNING
Exceeding the maximum load capacity, operating temperature or ambient temperature can lead to serious injury or damage.
![]() |
Please read this manual carefully and keep it for future reference. If you pass the product on to third parties, this manual should always be included. Ignoring these instructions may result in injuries or damage to people and products, for which we cannot accept any liability. |
||||||
IMPORTANT - KEEP FOR FUTURE REFERENCE.
• The use of this product should always be in accordance with the specified safety instructions.
• Do not install your VESA adapter in combination with the monitor in places where people are located below.
• Do not exceed the maximum weight of the compatible monitor models, as this may result in serious injuries or property damage.
• Pay attention to the maximum ambient temperature of 35°C when using the product.
• Do not mount the VESA adapter near a heat source or in direct sunlight, as this may cause the adapter to overheat.
• Check if your mounting point (e.g., monitor arm) can support the weight of the monitor with the VESA adapter.
• The product is designed exclusively for mounting with a hole pattern of 75x75 / 100x100mm / 200x200mm.
• After installing the VESA adapter, the position of the monitor must be readjusted to ensure proper ergonomics.
⚠ WARNING
Ensure that the device is turned off and disconnected from the power supply before installation to avoid possible injuries or damage.
Check the product carefully for possible transport damage and for the absence of accessories, such as screws, which should be included in the scope of delivery.
⚠ CAUTION
Make sure that packaging materials and small screws and parts contained therein are inaccessible to children to minimize the risk of choking and other risks.
2.1 Maintenance
- It is recommended to check every three months that all screws are still tight. Also, regularly check the condition of all components of the product.
- Store the product in a cool and safe place, ideally at a maximum storage temperature of 40°C. For additional safety, keep the product away from children and preferably in its original packaging.
- Avoid any vibrations and shocks so as not to affect the life and functionality of the product.
2.2 Cleaning
- No corrosive or hot cleaning agents should be used to clean the product. Likewise, wire brushes, metal or other sharp materials are unsuitable for cleaning and should not be used.
- For gentle and effective cleaning, the use of a soft, damp cloth is recommended.
For the disposal of this product we recommend to contact the responsible local authorities or disposal services. They can provide you with detailed information on available disposal options and recycling centers in your area.
3idee S.à r.l.
19 Rue de Bitbourg
L-1273 Luxembourg
Luxembourg
mail: info@3idee.eu
If you need help with your article, we are here for you. We also appreciate any feedback.
https://help.3idee.eu/en/contact

4x M4x14 Phillips Head Screw (SP2)
⚠ NOTE: Please check that all parts of the accessories are complete before assembly. If anything is missing, please contact our customer service team immediately by email or phone. We will be happy to help you.
Please note: Not all VESA adapters and monitors are designed for vertical (upright) orientation. This limitation is often due to the specific geometry of the adapter or monitor. Do not ignore this information, as the load limit of the adapter can quickly be exceeded if not installed properly.
We are continuously working on developing monitors and adapters that are also suitable for vertical orientation.
However, monitors are designed for horizontal alignment by default.
Lay your AOC monitor flat on a safe and soft surface and remove the stand. (Figure 1)
Figure 1
Now take the 3idee VESA adapter and "lever" it onto the base of your AOC monitor as shown. (Figure 2)
Figure 2
This is how the adapter should now hang on your AOC monitor. (Figure 3)
In the next step, we will screw the adapter to the monitor.
Figure 3
Now you can use the screw you just removed from your AOC stand to connect the VESA adapter to the monitor.
(Figure 4)
Figure 4
Please check if the adapter is properly connected to the monitor. (Figure 5)
Figure 5
For optical reasons you can fold down the lever of the screw so that it is not visible later. (Figure 6)
Figure 6
⚠ NOTE: If the instructions in this step are not suitable for your device, please follow the mounting guidelines of the manufacturer of your monitor arm or swivel arm to mount the monitor to the wall or swivel arm.
We recommend a second person for this step.
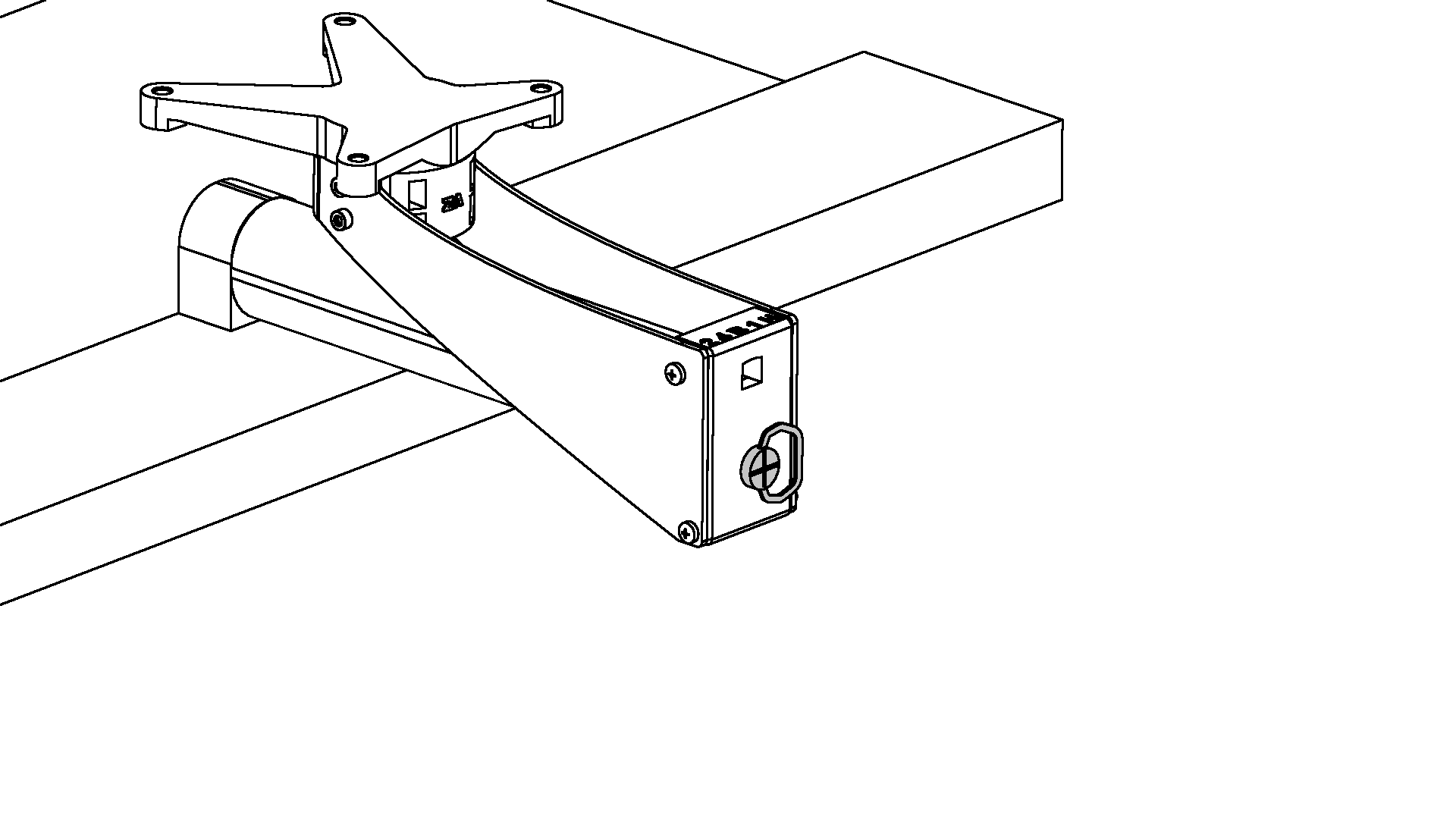
Now lift the monitor and hold it against your monitor mount. Attach the VESA adapter using the 4 M4x14 screws supplied (screw bag: SP2).
It is best to fasten 2 screws diagonally first so that the monitor can no longer fall down and you can fasten the remaining screws easily.
⚠ NOTE: Make sure you use the right screws!
(Figure 7)
Figure 7
Please make sure that all 4 screws are tight. (Figure 8)
Figure 8